三、电动式电控动力转向系统
电动式动力转向系统(EPS)是一种直接依靠电动机提供辅助转矩的电动助力式转向系统。该系统仅需要控制电动机电流的方向和幅值,不需要复杂的控制结构。另外,该系统由于利用微机控制,为转向系统提供了较高的转向自由度,同时还降低了成本和重量。
电动式动力转向系统主要特点如下:
①电动机、减速机、转向柱和转向齿轮箱可以制成一个整体,易于装车。
②基本上只增加电动机和减速机,使整个系统趋于小型轻量化。
③液压泵仅在必要时用来使电动机运转,故可以节能。
④因为零件数目少,不需要加油和抽空气。
(一)电动式电控动力转向系统的结构与工作原理
电动式动力转向系统基本上是由转矩传感器、车速传感器、控制元件、电动机和减速机组成的,如图12所示。

在操纵转向盘时,转矩传感器根据输入力的大小产生相应的电压信号,由此检测出操纵力的大小,同时根据车速传感器产生的脉冲信号又可测出车速,再控制电动机的电流,形成适当的转向助力。
1.转矩传感器
转矩传感器的作用是测量转向盘与转向器之间的相对转矩,以作为电动助力的依据之一。
图13所示为无触点式转矩传感器的结构及工作原理。在输出轴的极靴上分别绕有A、B、C、D四个线圈,转向盘处于中间位置(直驶时),扭力杆的纵向对称面正好处于图示输出轴极靴AC、BD的对称面上。当在U、T两端加上连续的输入脉冲电压信号U;时,由于通过每个极靴的磁通量相等,所以在V、W两端检测到的输出电压信号Uo =0转向时,由于扭力杆和输出轴极靴之间发生相对扭转变形,极靴A、D之间的磁阻增加,B、C之间的磁阻减小,各个极靴的磁通量发生变化,于是在V、W之间就出现了电位差。其电位差与扭力杆的扭转角和输入电压Ui成正比。

所以,通过测量V、W两端的电位差就可以测量出扭力杆的扭转角,于是也就知道转向盘施加的转矩。
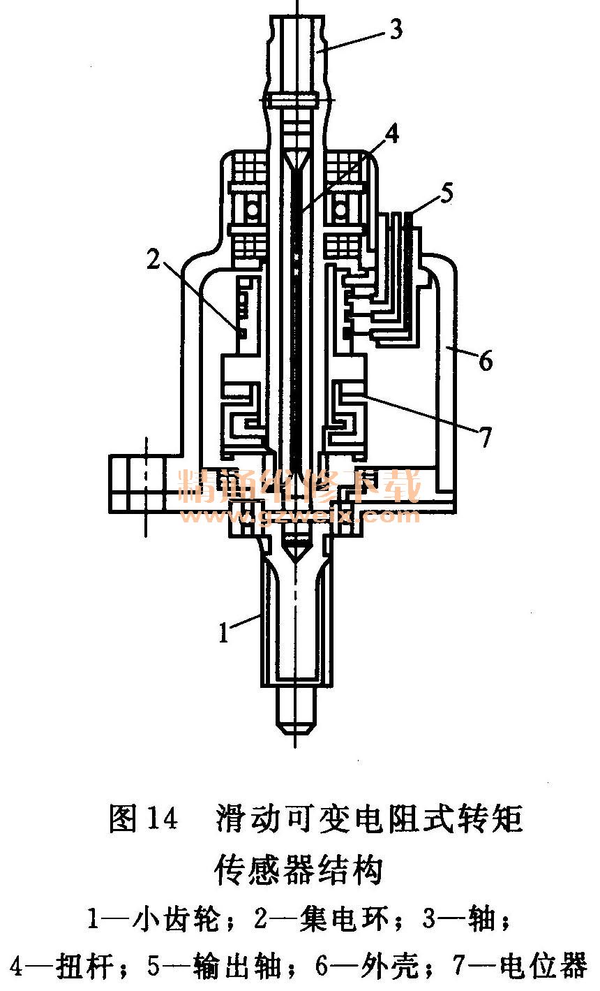
图14所示为滑动可变电阻式转矩传感器结构。它是将负载力矩引起的扭力杆角位移转换为电位器电阻的变化,并经滑环传递出来作为转矩信号。

2.电动机、离合器、减速机
EPS上所采用的电动机是一般汽车用电动机基础上加以改进得到的。为了改善操纵感、降低噪声和减少振动,有的电动机转子外圆表面开有斜槽,有的则改变定子磁铁的中心处和底部的厚度。电动机的特性如图15所示。

转向助力用直流电动机需要正反转控制,图16所示为一种比较简单适用的控制电路。

A1、a2为触发信号端,当a1得到输入信号时,晶体管V3导通,V2得到基极电流而导通,电流经V2、电动机M、V3、搭铁而构成回路,于是电动机正转,当a2端得到输入信号时,电流则经V1、电动机、V4、搭铁而构成回路,电动机则因电流方向相反而反转,控制触发信号端电流的大小,就可以控制通过电动机电流的大小。
电动机的工作范围限定在某一速度区域内,如果超过规定速度,则离合器使电动机停转,且离合器分离,不再起传递动力的作用。在不加助力的情况下,离合器可以清除电动机惯性的影响。同时,在系统发生故障时,因离合器分离,可以恢复手动控制转向。
为了减少加与不加助力时驾驶车辆感觉的差别,设法使离合器具有滞后输出特性,同时还使其具有半离合状态区域。
图17为单片干式电磁离合器的工作原理图。当电流通过集电环进入电磁离合器线圈时,主动轮产生电磁吸力,带花键的压板被吸引与主动轮压紧,于是电动机的动力经过轴、主动轮、压板、花键、从动轴传递给执行机构。

减速机构(见图18)是把电动机的输出放大后,再传给转向齿轮箱的主要部件。目前已实用的多种组合方式,如两级行星齿轮与传动齿轮驱动组合式,涡轮涡杆与转向轴驱动组合式等。为了抑制噪声和提高耐久性,减速机构上采用了部分树脂材料及特殊齿性。

(二)电动式电控动力转向系统的控制
1.控制电路
控制电路的中心是8位的单片微型计算机,内装256B的RAM, 4K位的ROM和8位的A/D转换器。
主传感器和辅助传感器的转矩及电动机的信号及电动机的电流信号,通过A/D转换器输入到微型计算机中,而车速信号、发动机转速、蓄电池电压和启动机开关的通断状态、交流发电机的L端子电压则通过接口电路输入到微型计算机中。
转矩信号通过A/D转换器输入到计算机后,计算机根据车速范围按照规定的转矩—电动机交流变换值,确定出电动机的电流指令值,把电流指令值输入到D/A转换器转换成模拟信号,之后输入到电流控制电路中去;同时,计算机还输出电动机的旋转方向指示信号,这个信号输入电动机的驱动电路后,便决定了电动机的旋转方向。
电流控制电路把上述的已成为模拟信号的电流指令与电动机的实际电流相比较后,产生二者幅度相同的斩波信号。驱动电路收到斩波信号与旋转方向指令信号之后,则输出指令,驱动功率MOS-FET电路,控制电动机的电流,使其按规定的方向旋转。
当超过规定的车速时,离合器的驱动信号被切断,电动机与减速机构分离,同时电动机也停止工作。
2.故障诊断与安全保护
控制元件具有故障自我诊断功能,当发生电气系统故障时,能自动停止助力。同时,计算机可以记忆故障内容,并使故障指示灯点亮。维修时可读取故障码,找出故障原因。
出现电气故障后,控制电路停止向电动机供电,在装有离合器的EPS上,离合器脱开,恢复到手动控制转向。