首 页文档资料下载资料维修视频包年699元
请登录  |  免费注册
当前位置:精通维修下载 > 文档资料 > 家电技术 > 单元电路介绍 > 其它电路
用INA111构成的多路输入数据采集系统
来源:本站整理  作者:佚名  2010-08-28 09:38:26



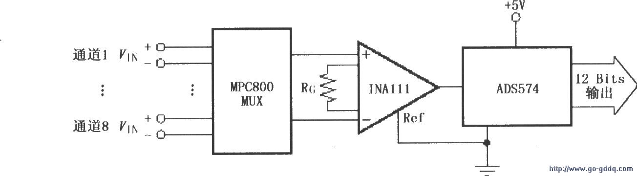
INA111构成的多路输入数据采集系统

如图所示为多路输人数据采集系统。该电路输入端采用B-B公司的高速CMOS模拟多路复用器MPC800,作为8通道输入信号的快速扫描数据采集多通道的切换选择;经过INA111放大后,由B-B公司的微处理器兼容的采样CMOS模数转换器ADS574进行模数变换后输出。

关键词:

文章评论评论内容只代表网友观点,与本站立场无关!

   评论摘要(共 0 条,得分 0 分,平均 0 分)
Copyright © 2007-2017 down.gzweix.Com. All Rights Reserved .
页面执行时间:123,375.00000 毫秒