(3)完善的驱动电路
这是一个通用的驱动电路,其原理框图见下图。该电路采用了双重负反馈控制,外部控制信号为连续调制方式,驱动电压6V~15V,驱动电流最大100mA,限制电流65mA。驱动电路具有以下功能:
1)恒流驱动的电流负反馈,恒光输出的光负反馈。2)用外部信号发生器对驱动电流进行控制的电流调制功能。3)不超过额定电流的限流功能。4)限制开、关机冲击电流的软开、软关功能。5)指示切断电源最佳时刻的LED指示功能。

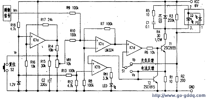
整机电路见下图。激光二极管选用日立公司的HL6722G,光输出功率5mW,工作电流小于70mA,工作电压2.7V,波长670nm,内部光电二极管电流3mA。
在下图中。用R1检出流过激光二极管的电流lo,若Rl两端电压为Vs,则驱动电流Io=Vs/Rl。电阻R2检出光输出,若R2两端电压为Vp,则光输出功率Po=2.5Is=2.5Vp/R2。驱动三极管Trl的集电极电阻R4,应由电源电压VCC和激光二极管的最大电流Io(max)来决定,见右图。
Vcc=Vf(max)+R4×1o(max)+Vce(Sat)+Rl×Io(max)式中:Vf(max)=2.7V,Io(max)取70nA,Vce(Sat)为0.5V,Vcc=6V,Rl取10Ω,则可由上式求得R4=30Ω,其功率为Q.15W,取0.5W。
下图中ICla和1.2V稳压二极管组成基准电压发生器。并由VRl设定驱动电流中的直流成分。R14、R15和C2构成软开、软关的RC电路。使驱动电流或光输出量在开、关机的5秒钟内缓慢变化,以防止电源通、断时的突变电流。 IClb为比较器,把电流检测器的电压Vs和预先设定的关断电压作比较。当驱动电流在5.5mA以下时,LED熄灭,表示激光二极管被关断。IClc为同相加法器,把来自外部信号发生器产生的调制电压Vm与来自ICla的基准电压相加,产生反馈控制的目标值。ICld为误差比较器,使Vs或Vp始终保持与IClc输出的目标值相一致。
连接在三极管Tl基极的T2用于限制驱动电流,若T1、T2的Vbe(on)为0.65V,则Io×Rl=0.65V时,T2导通,限制了Tl的基极电流,使Io不能超过65mA。
该电路调整方法如下:
首先把方式选择开关S1置某种反馈方式,把Vm端与外部振荡器相连,但振荡器的输出调到零,并把VRl的中心头调到最下端后,加上vcc,这时一边旋转VRl,一边监测Vs或Vp,以设定需要的直流工作点Io或P0。注意Vm端阻抗很高,易受外部干扰,不用外部调制时应将Vm端接地。
在使用外部正弦波调制的场合。可用示波器监测Vs或Vp,调整Io使正弦波被钳位于以直流工作点为中心的上下对称位置,并确认驱动电流被限制在65mA以内。
如要关断电源,可按下复位开关S2,流过激光二极管的电流徐徐减小,约5秒钟后降为零,LED熄灭,此时可关断电源。在接通电源时,因复位开关S2未按下,驱功电流徐徐增加,直至达到稳定的Io或P0值。
在用开关Sl改变工作方式时要先断开电源,否则只要反馈电路瞬间开路,也会造成电流突变而损坏激光二极管。R5、Cl用来吸收可能出现在LD两端的突变电压。肖特基二极管ISSl74反向电压为3V,当LD两端电压超过3V时,ISSl74快速击穿,以保护激光二极管LD。

(4)驱动集成电路
国产电路型号:EG-04;主要应用产品:弱激光治疗仪(LLLT)、激光工量具、激光条码器、远距离测量仪器、激光测试仪器。
工作电压2.4~5.25VDC;驱动电流80mA;适合LD波长650nm、5~20mW;635nm、5~10mW:外调制频率O~100kHz可调;占空比可调;全程均APC恒功率控制。
保护功能:软启动保护、过流保护、过温保护、监控电路保护、极性反接保护、瞬态保护。
SOP8封装形式,尺寸为5mm×6.2mm,外围元件少,有利于产品的大批量整体设计。