3 新设计锁具的结构
如图2~图7为新设计的锁具,包括钥匙1、锁芯2和锁体3;钥匙1包括连杆4、钥匙轴套5、锁齿和滚轮导轨8;连杆4设置在钥匙轴套5中;锁齿为若干组滚轮组9,设置在连杆4的伸出臂上;滚轮组的滚轮之间通过滚轮连杆7连接;为了在使用时,零件之间有很好的配合,连杆4伸出臂的下部和滚轮导轨8的上部接触面是可相互贴合的1/4弧面;钥匙轴套5上设置有用于滚轮伸出的轴套窗口11;滚轮导轨8设置在轴套窗口11下方的钥匙轴套5上,用于将滚轮组9中的滚轮导向轴套窗口11,并伸出轴套窗口11推动锁芯上相对应位置的端子,锁芯2设置在锁体3内,包括与钥匙轴套5相配合的锁孔、锁芯端子12和端子复位弹簧13,锁孔的内壁上设置有与轴套窗口11相对应的锁芯窗口14。除此之外,为了进一步增加防盗功能,锁孔的内壁上还设有若干伪锁芯窗口,以将锁芯窗口14隐藏在若干伪锁芯窗口之间;端子复位弹簧13设置在与锁芯窗口相对应的锁体内孔中,锁芯端子12设置在锁芯窗口14中,其一端与端子复位弹簧13连接。




钥匙轴套5的端口设有与连杆4一端连接的伸缩定位装置;连杆4的另一端设置有定位弹簧25,与伸缩定位装置一起用于控制连杆4的伸缩定位。钥匙轴套5端口内壁上,沿圆周方向依次循环交错设置有凸条23和第1导向槽21、凸条23和第2导向槽22,第1导向槽21平面的高度略高于钥匙轴套5的内表面而低于凸条23平面;第2导向槽22平面的高度与钥匙轴套5的内表面相等;凸条23与第1导向槽21的端面为相同坡度的斜端面。
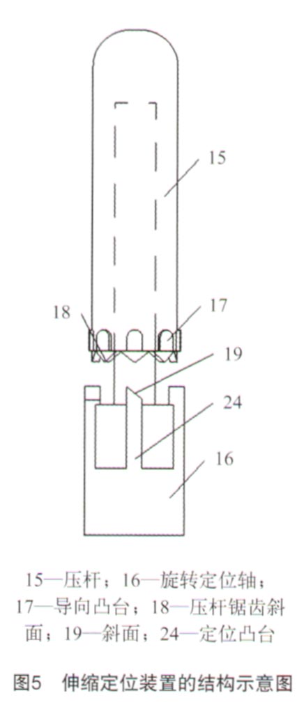
伸缩定位装置包括压杆15和旋转定位轴16,压杆15的一端外圆周上设置有与第1导向槽21、第2导向槽22相适配的导向凸台17,压杆15的端面上设置有压杆锯齿斜面18;旋转定位轴16的外圆周上设置有沿第1导向槽21的端面伸出定位或沿第2导向槽22的表面缩回的定位凸台24,定位凸台24的端面为与压杆锯齿斜面18、凸条23端面和第1导向槽21端面相适配的斜面19;装置静止时,斜面19与压杆锯齿斜面18呈半咬合状态,按压压杆15后,斜面19向与压杆锯齿斜面18完全咬合的方向运动,带动旋转定位轴16旋转,旋转后斜面19与凸条23的斜端面相贴合;在凸条23斜端面的导引下旋转定位轴16继续旋转,斜面19滑至第1导向槽21的斜端面定位或滑入第2导向槽22中定位,以实现连杆4的伸出或缩回定位。