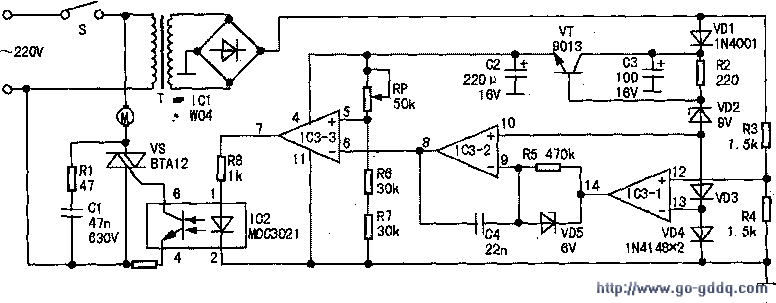
旋风ZW100-929型卧式吸尘器是苏州春花吸尘器总厂上世纪90年代产品,该机不工作的表现为通电后无任何反应,其故障原因很多,可按以下步骤进行检修,电路见图。

1、检查直流供电电路
(1)闭合电源开关S,若测得电源变压器T次级有AC12V电压,而桥式整流器IC1(W04)无DV12V直流输出,则为IC1损坏,可用同型号整流桥堆或4只1N4002整流二极管更换。
(2)若T次级无交流输出,则为其初级或次级绕组开路、S触点接触不良。T可用次级为AC12V的10W电源变压器更换。S接触不良主要是触点打火电蚀、表面氧化或积垢等造成的,可用小刀或细砂纸清除氧化层,将触点接触面刮磨平整后,用无水酒精将污物清洗干净即可。
(3)检查稳压电路时,测C3两端有无DC11V左右电压,若无为VDl脱焊开路或失效。
(4)如测得C3有电压而C2无电压,则为R3开路,VT(9013)开路损坏,VD2、VD3、VD4开路脱焊或损坏。
(5)如C2两端电压过低,可断开IC3④脚连线,若仍低则为C2、C3漏电或VT性能变劣(如β值下降、导通特性不佳等)。
(6)断开IC3④脚后,C2两端电压恢复正常,则为IC3内部电路漏电,应更换。IC3的型号为HA17324(CMOS微功耗型),也可用双极性如电压比较器LM324直接代换。
2、检查交流主回路
(1)先将光电耦合器K2(MOC3021)的输出端④、⑥脚短接,如电机M仍不转,应检查R2是否脱焊开路,双向可控硅VS是否损坏,VS可用6A/400V的双向可控硅代换。
(2)如VS、R2完好,则为电机绕组开路、轴承磨损或缺油干涩卡滞、电源线断脱。
3、检查控制电路
(1)正常情况下,IC3-1 14脚应输出高电平(8V以上),若14脚输出低电平,为取样分压电阻R3开路或VD4开路失效,使⑥脚电压低于⑩脚引起的;
(2)再测IC3-2⑧脚是否输出低电平(约0V),若⑧脚为高电平,可能是⑨脚脱焊,R5、VD5接点14脚开路或C4漏电造成的;
(3)最后测IC3-3⑦脚输出是否为高电平,若⑦脚为低电平,一般是电位器RP开路,⑥、⑧脚开焊;
(4)若IC3-3⑦脚为高电平,而检查交流主回路又都正常,则为R8开路,光电耦合器IC2引脚脱焊或其内部损坏。IC2损坏后,可用MOC3022、4N23、4N25等光电耦合器代换。但要注意,引脚排列顺序不要搞错。