·上一文章:飞利浦HS800A型电动剃须刀电池充电正常,电机不转
·下一文章:帅达SD837型电动剃须刀电机转动无力,剃须困难
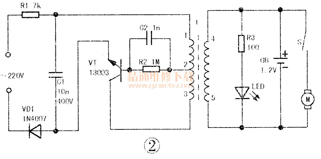
接通交流电源,充电指示灯LED不亮,电池充不上电,电机也不转:
这是一款晶体管电流变换型充电电路,其中R1,VD1,C1组成降压整流电路,C1上可获1()()V左右直流电压。vT、R2,C2,T组成自激振荡电源变换器。造成本故障的原因有:(1)整流电路工作失常,表现为C1两端无100V左右直流电压。多为R1(7kΩ/1W)烧断开路,VD 1 ( 1 A/1000V)失效、开路,C1击穿漏电;(2}变换器停振。一般是振荡管VT损坏或不良,C2及R2脱焊开路,振荡变压器T绕组开路(。经检查是T初级①-③绕组一接线端头霉断开路所致,补焊后通电试验,故障排除。
