此机在收看中有时突然自动关机,有时自行恢复,有时光栅闪灭或渐渐消失,但有伴音,有时伴有“嗒嗒’保护声等。
该机采用飞利浦CT0-93机芯,具有典型的欧洲电路结构特点:
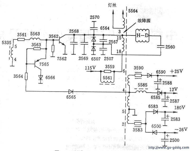
开关电源电路采用他激式和集合一体化行电源开关电路,并具有多路输出电压特点:设有俗称“打嗝”式过流保护电路和过压限制电路。
根据电路结构特点和检修经验,这种故障多数是由于行输出变压器5564引脚虚焊所造成的。
由于该机采用他激式、集合行电源和开关稳压电源一体化电路,加之,电视机工作所需要的电源电压多数是由行输出变压器5564产生的(多达10余种)。因此行输出变压器负担较重,故行输出变压器工作温度也较高,焊点因“热胀冷缩”易造成虚焊。一般通过肉眼或借助放大镜,可看到细小裂纹,重焊后往往手到病除;根据行输出变压器(以下简称“行变”)虚焊部位的不同,其故障现象略有不同:当“行变”’(15)脚、(18)脚虚焊时,因“行管”7562c极得不到115V电压,或因接触电阻大而115V电压衰减很大,继而产生不定期自动关机。又自行恢复工作等故障;当“行变”5564①、③脚虚焊时,因显像管灯丝电压降低或消失而出现光栅渐渐消失的故障:当“行变"5564⑥脚虚焊时,因25V场电源电压丢失而场保护电路动作,造成有伴音、无光栅,关机瞬间出现亮带故障;当“行变”5564②脚虚焊时,因180V电压下降而束射电流过大,引起过流保护电路启控,出现回扫线和光栅忽亮忽暗、忽有忽无,并伴有“喀喀”声等故障;当“行变”5564④脚虚焊时,因12V电压下降而出现无图、无声或调谐彩条异常等故障。
另外,“行变”5564④脚又是过压保护电路(7565)的取样点,因此,当“行变5564④脚虚焊打火时,因过压保护电路动作而呈现“三无”,并造成开关管7355三个极电压相等(300V左右)或开关管击穿损坏故障,见下图所示。
总之,当出现上述故障现象时,应先检查行输出变压器5564各引脚焊点及外围保险电阻,这种检修方法往往会取得事半功倍的效果。
