开盖检查,保险管、电源开关管、行管均未损坏,二次供电开关管击穿。换上二次开关管Q618(IRF630),开机有高压声。接上主机,屏幕有字符显示,进入DOS方式,一切正常。当主机进入Windows98后,黑屏有高压,调高加速极电压后屏幕有亮光,无任何字符和图标,且行幅缩小。测+B电压(二次电压),DOS模式下为62.3V(此时显示正常),主机进入Windows98桌面模式下(800x600)为62V左右(此时黑屏);测电源主电压+B为56.6V,显然,高分辨率下的二次供电电压偏低。在两种分辨率下,测量二次供电的关键点电压见下表。
| 分辨率 | +B电压(二次电压) | Q618G极电压 | +B控制电压(STV7778S 22脚) |
| 低分辨率下(DOS模式) | 62.3V | 1.32V | 1.50V |
| 高分辨率下(800×600) | 62V | 1.30V | 1.43V |
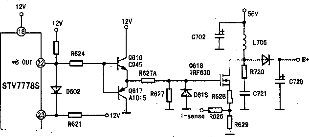
不同的分辨率下,显示器给行提供的电压不同,分辨率越高,+B电压也越高,从表1可以看出,两种工作模式下+B的电压变化不大。+B电压是通过改变二次开关管Q618的导通程度来控制的,怀疑二次开关管控制极电路有问题造成高分辨率下+B电压偏低,显示器不能正常工作。部分电路见下图。

因为烧二次开关管,故把检查目标锁定在二次开关管驱动电路。取下Q617测量,没有损坏,Q616也未损坏。在强光下直观检查。看到电阻R627A有烧焦的黑点。焊下R627A,根据色环判断该电阻阻值为22Ω。用数字表测该电阻为65Ω左右。
进一步检查,确定没有其他元件损坏。用同阻值电阻换上R627A,换上二次开关管Q618,恢复所有电路,开机,整机工作正常,在试机过程中,监测触摸二次开关管Q618的散热片温升正常。长时间开机,二次开关管发热一直正常。
看来,烧二次开关管是驱动电路R627A阻值变大。驱动不足使Q618损坏引起的(二次电源管的工作状态与行管有着明显的不同,耦合电阻的增大,一般只会减小开关管的激励脉冲幅值。使+B有所下降,但是否会引起类似行管的因激励不足而过热损坏,还不能从实践上验证)。工作正常时二次供电关键点电压见下表。
| 分辨率 | +B电压(二次电压) | Q618G极电压 | +B控制电压(STV7778S 22脚) |
| 低分辨率下(DOS模式) | 66V | 1.12V | 1.28V |
| 高分辨率下(800×600) | 103V | 2.33V | 2.54V |