·上一文章:三星51SW型15英寸数控彩显,亮度较暗且为蓝色,没有红色和绿色
·下一文章:莺歌C51-3-RC型彩电三无
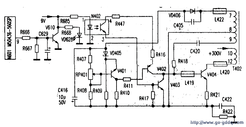
经查,此时+B1(120V)输出为90V。
该机电源是三洋80P机芯电源的改进型。局部电路见下图。进一步检测发现,在开机瞬间+B1电压达140V,然后再降至120V。显然,电源取样或稳压环路有故障。以此为突破口。经逐一检查上述电路元件,发现取样电源滤波电容C416(10μF/150V)容量降为4.8μF,且不稳。将其换新后试机,上述故障消失。
那么,为何C416性能变差会导致遥控不能关机呢?由下图不难看出:正常情况下,当按下遥控关机键时,N601⑨脚输出低电平。通过R6661使控制管V610截止,其e极电位升高(此时预置指示灯VD628点亮),并通过R685使光耦器N402①脚电位升高(1.1V),致使内部发光二极管亮度大增→N402③、④脚间光敏三极管c、e极间动态电阻大减→误差电压放大管V402 c、e极间等效电阻减小→开关管V404因b极电位大幅降低而停振。然而,当C416性能变坏后,积分作用下降,两端电瘫下降,使得误差电压输出管V40t b极电位下降,c极电位升高,并使V402 b极电位上升,导致V402 c、e极间动态电阻增大。由于CA16性能不稳,当性能相对较好时,积分得翻的电压(即取电压)较高→V401c极电位相对降低→V402 b极电位相对下降→导通程度增大→V402→c、e极间动态电阻减小,与N402共同作用,使V402 c、e极间的动态电阻降至很小,也就是将开关管V404 b极电位拉至很低,这时表现出来的现象就可以遥控关机。
